WATER MIST LANCE FOR CONTAINER
>Application
The ships constructed on or after 1 January 2016 designed to carry containers on or above the weather deck shall carry at least one water mist lance.
>Structure and Material
Water mist lance : SS316
Hammer: 45# steel ( nickel plated )
>Standard:conform to MSC.365(93) as amendment
The ships constructed on or after 1 January 2016 designed to carry containers on or above the weather deck shall carry at least one water mist lance.
>Structure and Material
Water mist lance : SS316
Hammer: 45# steel ( nickel plated )
>Standard:conform to MSC.365(93) as amendment
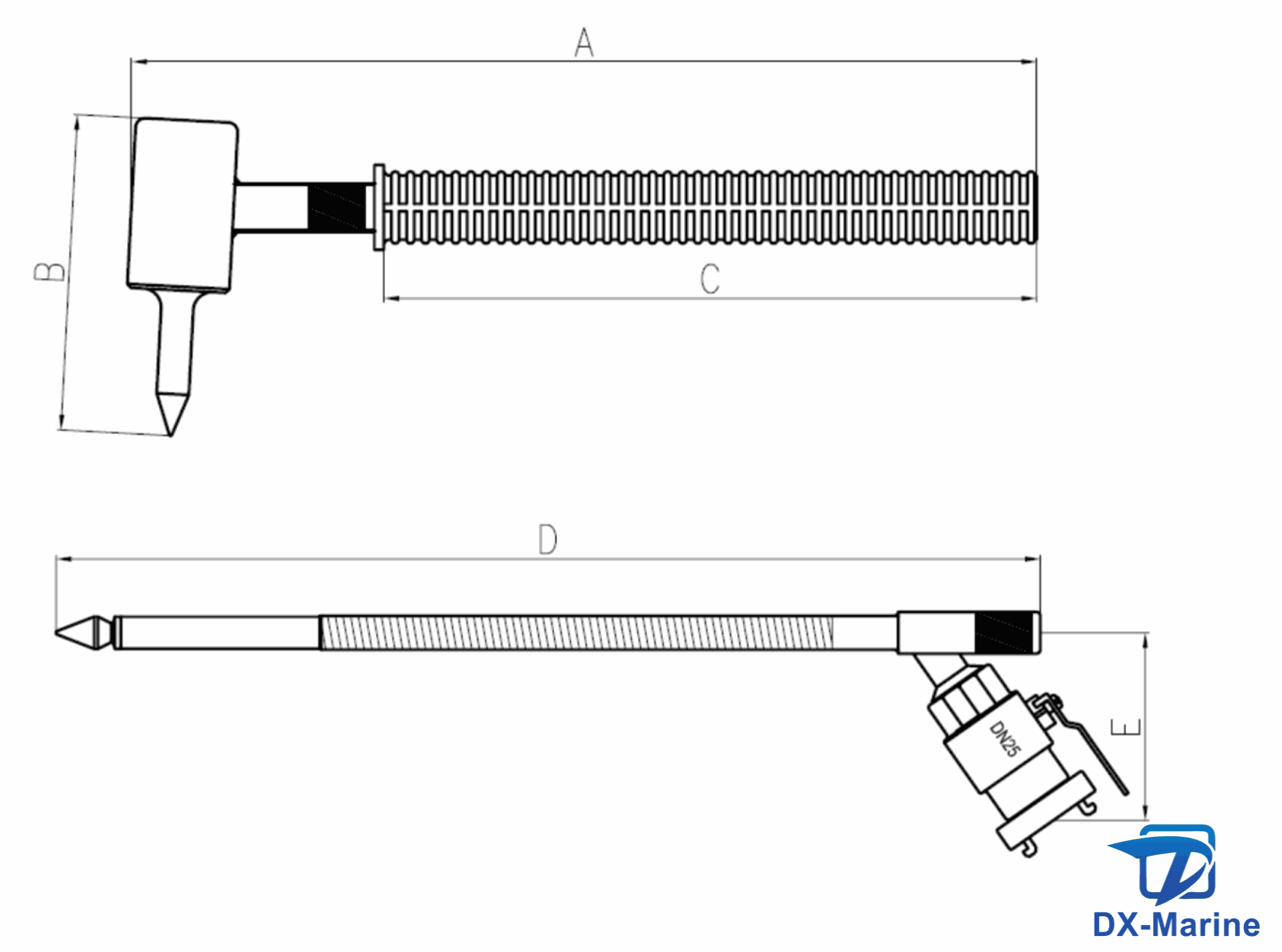
The hardness of tip and blade of hammer is Rockwell HRC48
~
56, it is easy to pierce
through 2-mm-thick container wall. Hammer tip can pierce through the 2-mm-thick Q235 hot
rolled steel sheet completely while factory testing, and there is no obvious damage with the
tip and blade of hammer like crack, edge curl and blade lack.
Norminal Pressure and flow : 50L/min @0.6Mpa
Maximum Working Pressure : 1 Mpa
Jetting Range : 6m @0.6 Mpa
Inlet Dimension : DN25
Material of Impact hammer : 45# ( plating nickel on surface )
Drill size :∅19mm,77mm in depth
Length of Impact Hammer : 478mm
Material of Spary lance : SS316
Switch : DN25 Ball valve made of copper alloy
Mist Nozzle : 16x∅ 2mm holes around lance chip
Length of Spray lance : 520mm
Inlet Coupling : STORZ 25A
structure
Marking: fluorescein reflective label
Switch: DN25 ball valve, main body:
Made of copper alloy
Material: mist nozzle-SS316
Impact hammer-45# (Galvanized
)
|
Nominal pressure MPa |
Jetting flow L/min |
Jetting range m |
Impact hammer size |
S pray nozzle size |
Inlet thread |
|||
|
A mm |
B mm |
C mm |
D mm |
E mm |
||||
|
0.6 |
≥55±8% |
≥6.0±8% |
478±5 |
167±5 |
345±5 |
520±5 |
100±5 |
G1 |
operating steps
1.Connect the hose with mist nozzle
2.hammer tip concentrated on the certain place of the container wall. Hammer hard till the
hammer tip pierces through the container wall and take out the impact hammer.
3.Hold the mist nozzle, get the nozzle tip pass through the wall of container. If failed, hammer
the nozzle end with hammer end till the nozzle tip passes through the container wall. Then
turn on the switch, start spraying to put out the fire.
